
Les régulateurs de débit en ligne permettent de contrôler l’alimentation des moteurs et par conséquent la vitesse de fonctionnement.
Ils sont particulièrement compacts et faciles à installer directement sur l’alimentation des moteurs ou sur le tuyau d’alimentation d’air. On peut également les brancher sur l’échappement d’un moteur collecté.
| Référence | AC186 | AC187 | AC188 | AC189 | AC190 | AC191 | AC192 |
|---|---|---|---|---|---|---|---|
| Pression d’utilisation (Bars) | 0 bar .. 17 bars | ||||||
| Température d’utilisation (°C) | -40 °C .. 120 °C | ||||||
| Raccordement moteur | G1⁄8 | G1⁄8 | G1⁄4 | G3⁄4 | G3⁄8 | G3⁄8 | G1⁄2 |
| Raccordement alimentation | G1⁄8 | G1⁄4 | G1⁄4 | G3⁄8 | G3⁄8 | G1⁄2 | G1⁄2 |
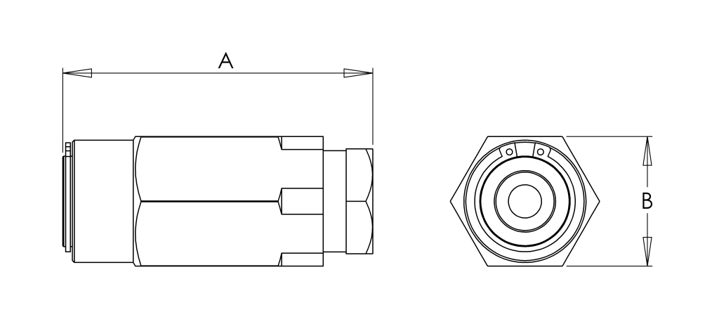
| Dimensions - A x B (mm) | 50.8 x 20.6 | 64.8 x 26.9 | 64.8 x 26.9 | 73.4 x 31.8 | 73.4 x 31.8 | 82.6 x 41.4 | 82.6 x 41.4 |
| Poids (g) | 5 g | 10 g | 10 g | 15 g | 15 g | 25 g | 25 g |
| Gammes compatibles | 05 | 07 | 08 | 10XT 20XT | 10RV 20RV | 25 | 30 |

Corps en aluminium, les régulateurs de débit en ligne
sont livrés avec des raccords pour assemblage sur l’admission des moteurs.