
Extrêmement compacts, ces silencieux en métal permettent de réduire le niveau sonore d’échappement avec un impact minimum sur l’encombrement du moteur (voire quasi nul dans le cas du mini silencieux).
Ils constituent également une protection contre toute intrusion de corps étranger dans le moteur via l’orifice d’échappement. Attention toutefois au débit maximal possible, au-delà duquel les performances du moteur seront impactées (couple et vitesse).
| Référence | AC169 | AC168 | AC180 | AC181 | AC164 | AC182 |
|---|---|---|---|---|---|---|
| Pression d’utilisation (Bars) | 0 Bar .. 10 Bars | |||||
| Température d’utilisation (°C) | -10 °C .. 80 °C | |||||
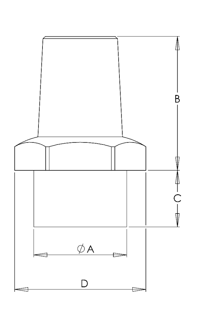
| Raccordement (ØA) | G⅛ | G⅛ | G¼ | G⅜ | G½ | G¾ |
| Dimensions - B x C x ⬡D (mm) | 10 x 6 x 13 | 22.4 x 5.6 x 13 | 41.6 x 8.4 x 16 | 49.2 x 8.8 x 24 | 54.6 x 11.4 x 27 | 82.3 x 12.7 x 36 |
| Poids (g) | 6 g | 10 g | 30 g | 31 g | 70 g | 300 g |
| Gammes compatibles | 05 | 05 07 | 07 08 | 08 10RV 20RV 25 | 30 | 10 20 25 30 |
| Voir details ci-dessous | ||||||
| Gamme | 05 | 07 | 08 | 10XT | 10RV | 20XT | 20RV | 25 | 30 | |||||||
|---|---|---|---|---|---|---|---|---|---|---|---|---|---|---|---|---|
| Éch. | Alim. | Éch. | Alim. | Éch. | Alim. | Éch. | Éch. | Alim. | Éch. | Éch. | Alim. | Éch. | Alim. | Éch. | Alim. | |
| Taille | G⅛ | G⅛ | G¼ | G⅛ | G⅜ | G¼ | G¾ | G¾ | G⅜ | G¾ | G¾ | G⅜ | G¾ | G⅜ | G¾ | G½ |
| Référence |
AC168
Ou
AC169 |
AC168
Ou
AC169 |
AC180 |
AC168 |
AC181 |
AC180 |
AC182 |
AC182 |
AC181 |
AC182 |
AC182 |
AC181 |
AC182 |
AC181 |
AC182 |
AC164 |
| Impact puissance | 0 | 0 | 0 | 0 | 0 | 15% | 20% | 0 | 0 | |||||||


Mini silencieux métallique (AC169) : Corps en acier inoxydable, raccord laiton nickelé
Autres silencieux métalliques : Corps en bronze poreux, raccord laiton